联系我们
  • 电话:0436-4222396
  • 电子邮箱:TYSTHJFJ@163.com
  • 邮编:137200
  • 地址:通榆县生态大街与敬业路交汇处1888号
政务公开

双辽至洮南公路第GQ05工区K130水稳拌合站建设项目

发布时间: 2019-11-28   收藏

  建设项目基本情况

  项目名称 双辽至洮南公路第GQ05工区K130水稳拌合站建设项目
  建设单位 中铁七局集团第三工程有限公司通榆分公司
  法人代表 石建军 联系人 张晓刚
  通讯地址 吉林省白城市通榆县开通镇向荣村西夯市屯
  联系电话 15291406133 传真 / 邮编 137200
  建设地点 吉林省白城市通榆县开通镇和平村翻身窝堡屯
  立项
  审批部门 / 批准文号 /
  建设性质 新建 行业类别及代码 C3099 其他非金属矿物制品制造
  占地面积(m2) 12105.54 建筑面积(m2) 5000
  总投资
  (万元) 48.3 环保投资(万元) 13.9 投资比例(%) 28.78
  预期
  投产日期 2020年4月
  1、项目来源
  双辽至洮南高速公路第GQ05工区位于吉林省白城市通榆县境内,为确保五工区路线的工程质量、成本控制及工程进度,中铁七局集团第三工程有限公司通榆分公司拟在通榆县开通镇和平村翻身窝堡屯开展双辽至洮南公路第GQ05工区K130水稳拌合站建设项目,项目运行期约2年,待双辽至洮南高速公路一标段五工区路线建成后本项目将进行拆除并进行土地恢复。本项目建成后年产水泥稳定级配碎石35万吨。
  根据《中华人民共和国环境影响评价法》和《建设项目环境保护管理条例》(国务院令第682号)中的有关规定,本项目应履行环境影响评价制度,并须经环境保护行政主管部门审批;根据《建设项目环境影响评价分类管理名录》(环境保护部令第44号)和《关于修改〈建设项目环境影响评价分类管理名录〉部分内容的决定》(生态环境部令第1号)中“十九、非金属矿物制品业中50.商品混凝土加工”可知本项目应进行环境影响报告表的编制。为此,中铁七局集团第三工程有限公司通榆分公司于2019年委托吉林省龙桥辐射环境工程有限公司承担本项目的环境影响评价工作。
  本项目为未批先建项目,违反了《中华人民共和国环境保护法》第十九条:“未依法进行环境影响评价的建设项目,不得开工建设。”以及《中华人民共和国环境影响评价法》第二十五条:“建设项目的环境影响评价文件未依法经审批部门审查或者审查后未予以批准的,建设单位不得开工建设。”的规定,因此通榆县环境保护局已对本项目进行处罚(罚单详见附件)。
  我单位环评技术人员在现场踏勘和收集有关资料的基础上,根据国家有关政策、法律、法规和通榆县环境保护局的要求,编制完成了《双辽至洮南公路第GQ05工区K130水稳拌合站建设项目环境影响报告表》。在报告编制过程中,得到了通榆县环境保护局及建设单位的密切配合,在此深表感谢!
  3、项目名称、建设性质、建设地点
  项目名称:双辽至洮南公路第GQ05工区K130水稳拌合站建设项目
  建设性质:新建
  运行期限:项目属临时性生产项目,运行周期约2年(2018年8月1日至2020年7月31日,详见附件)。
  建设地点:本项目位于通榆县开通镇和平村翻身窝堡屯(坐标:123.025782°E、44.713783°N)。根据通榆县国土局出具的关于本项目临时用地情况的说明,项目水稳站占地类型为其他草地(详见附件)。项目东侧、西侧、北侧均为空地,南侧为111县道,隔路为空地。项目地理位置详见附图1,周边环境敏感目标分布情况详见附图5,厂区平面布置示意图详见附图3。
  4、投资估算及资金来源
  项目总投资48.3万元,全部为企业自筹解决。
  5、建设内容及规模
  项目占地面积为12105.54m2,建筑面积为5000m2。本项目建成后年产水泥稳定级配碎石35万吨,主要工程组成详见下表。
  表1  项目组成情况一览表
  建设内容 建设规模
  
  主体
  工程 拌合区 建筑面积4260m2,内设水稳搅拌设备2套
  辅助工程 办公室 建筑面积500m2,用于办公、住宿、就餐等
  食堂 建筑面积50m2(位于办公楼内),2个基础灶头
  地磅 建筑面积40m2
  工具间 建筑面积100m2
  设备用房 建筑面积100m2
  储运
  工程 骨料(砂石)料仓 半封闭料仓,即三面封闭,开口朝向场内,上方采用彩钢遮盖,占地面积6000m2
  粉料(水泥) 150t粉料储罐4个
  罐车 7辆
  公用工程 给水 厂区地下深水井
  排水 生产不产生废水,生活污水排入防渗化粪池,定期委托外单位处理
  供电 农电供给
  环保工程 废气治理 食堂安装有油烟净化器(效率为60%),对沥青烟气进行活性炭吸附处理、骨料烘干过程中产生粉尘及矿粉粉尘经布袋除尘器处理后通过罐顶布袋除尘器排气筒(储罐高15m)排放,无组织粉尘经洒水降尘处理后达标排放,柴油发电机废气经大气稀释后达标排放
  废水治理 本项目无生产废水,生活污水排入防渗化粪池,定期委托外单位处理
  噪声治理 安装减震设施及墙体阻隔
  固废治理 生活垃圾集中收集后委托外单位处理,布袋除尘器收集的粉尘回用于生产,危险废物储存在危废暂存间内
  6、生产方案
  项目建成后产品方案如下:
  表2  主要生产规模一览表
  序号 产品名称 单位 数量
  1 水泥稳定级配碎石 万吨 35
  9、公用工程
  ⑴给水
  本项目用水主要为水稳搅拌添加用水、清洗用水、职工生活用水、料仓洒水降尘用水、食堂餐饮用水。
  ①搅拌添加水
  根据建设单位提供资料,水稳拌合站用水量为23800t/a(864t/a来自设备及车辆清洗废水)。
  ②清洗用水
  根据建设单位提供资料,项目设备清洗用水量约4t/d(960t/a)。
  ③职工生活用水
  职工生活用水量(包含淋浴用水)按0.12m3/d•人计,本项目职工人数为40人,则职工生活用水量为4.8m3/d(1152m3/a)。
  ④食堂餐饮用水
  水稳站为项目预设食堂一处,本项目餐饮用水按0.02 m3/人•次计,本项目职工为40人,则餐饮用水量为0.8m3/d(192m3/a)。
  ⑤料仓洒水降尘用水
  项目需要对料场内砂石料进行洒水降尘,需洒水降尘的面积约13000m2,按照0.001m3/(m2·次),每天洒水一次计,则堆场洒水降尘用水量为13t/d(3120t/a)。
  ⑵排水
  本项目排水为清洗水、职工生活污水、食堂餐饮废水。
  搅拌添加水全部进入产品,不外排;料仓洒水降尘用水全部蒸发。故水稳站排水主要为清洗废水、职工生活污水及食堂餐饮废水。
  ①清洗废水
  清洗废水产生量按其用水量的90%计算,则其产生量约3.6t/d(864t/a),经沉淀池澄清后可直接用于生产搅拌用水。
  ②职工生活污水及餐饮废水
  职工生活污水及餐饮废水产生量按其用水量的80%计算,则其生活污水产生量约3.84t/d(921.6t/a),餐饮废水产生量为0.64t/d(153.6t/a),食堂餐饮废水经隔油池处理后与生活污水一并排入自建化粪池,定期清掏,用作农肥。
  ⑷供电
  本项目用电由当地电网提供,能够满足其用电要求。
  ⑸供热
  本项目生产不用热,冬季不生产,无生活用热需求,冬季留守人员2人,取暖方式采用电取暖。
  10、劳动制度及工作人员
  本项目定员人数为40人,全年工作240天,每天12h工作时间,冬季留守人员2人。
  与本项目有关的原有污染情况及主要环境问题
  本项目为未批先建项目,本工程在其他草地上进行建设,无原有污染情况及环境问题,无信访事件(本项目未做公众参与调查)。
  现项目主体工程已建设完成,现处于停产状态。项目建设期间废水主要有建筑施工废水及施工人员生活污水,施工废水经沉淀池沉淀后,上清液回用,沉渣用于平整场地,不外排;施工人员生活污水全部排入化粪池,对周围环境影响较小。废气主要有施工扬尘、机械燃油废气和汽车尾气、装修废气等。施工过程中设有临时仓库用来堆放建筑材料及设备,对施工场地用围挡包围,针对施工产生的扬尘施工人员定期洒水降尘;机械燃油废气和汽车尾气、装修废气等经空气稀释,对周围环境空气影响较小。噪声主要有机械设备施工所产生的噪声以及车辆运输产生的噪声。本项目施工时间在早6:00至晚10:00之间,在夜间禁止施工,经过墙体阻隔及距离衰减后对周围环境影响较小。固体废物主要是施工过程中产生的建筑垃圾和施工人员产生的生活垃圾。施工人员产生的生活垃圾暂存在垃圾箱内,由环卫部门统一处理;建筑垃圾主要为废弃包装物、钢木废料以及混凝土废料等,统一收集,在堆放处设置围挡,施工完成后统一运至城市建筑垃圾堆放场集中处理,施工期对表土进行覆盖,妥善保存。本项目在施工过程中针对废水、废气、噪声及固体废物的防治措施均合理,且施工期并无群众上访情况,现场无施工遗留问题;主体工程已建设完成,各储罐均配套安装除尘设备,可使废气达标排放,各项目污染防治措施均已落实,无现存环境问题。对周围环境产生的影响较小。
  建设项目工程分析
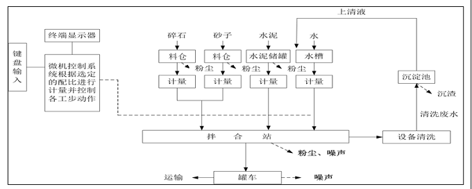
  1、工艺流程简述
  项目生产流程为混凝土搅拌过程,生产工艺相对比较简单,所有工艺均为物理过程。
  首先将各种原料进行计量配送,然后进行重量配料,之后进行强制配料,强制配料过程采用电脑控制,从而保证产品的品质,骨料经传送带输送到搅拌机,粉料从储罐下料路口下料通过封闭管道(管道内设有传送带)输送到搅拌机,水通过水泵抽到搅拌机,三种物料进到搅拌机搅拌后得到成品水泥稳定级配碎石,成品从搅拌机出料口进入罐车,外运使用。
  具体生产工艺流程简介如下:
   

 

  

  图3  生产工艺流程及产污节点图
  2、主要污染工序
  ⑴废水
  本项目水稳拌合用水全部进入产品中,清洗废水经沉淀池沉淀后全部回用(864t/a),职工生活污水及餐饮废水产生量按其用水量的80%计算,则职工生活污水产生量为3.84t/d(921.6t/a),餐饮废水产生量为0.64t/d(153.6t/a)。本项目产生废水总量为1939.23t/a。
  ⑵废气
  本项目生产过程中无需热源,且冬季不生产,无需自建锅炉。故项目所产生的废气主要为食堂油烟及粉尘(水泥储罐粉尘、搅拌粉尘、储料仓粉尘)。
  ①食堂油烟
  本项目共设有2个基准灶头,属于小型饮食业。按人均日食用油用量为30g/人·d计算,本项目工作人员共有40人,则耗油量为0.288t/a,在烹饪时一般油烟挥发量占总耗油量的2-4%,本项目取3%,灶头每天工作2小时,油烟产生量约为0.018kg/h,风机的排风量约为5000m3/h,则油烟的产生浓度为3.6mg/m3,产生量约为8.64kg/a,油烟浓度超过《饮食业油烟排放标准(试行)》(GB18483-2001)中的小型饮食业标准(2mg/m3)。
  ②水泥储罐粉尘
  项目使用的水泥储存于厂区内储罐中,共4个水泥储罐,每个储量为150t,会产生粉尘。根据《污染源源强核算技术指南 水泥行业》(HJ886-2018),本项目采用类比法,类比同类项目(桐梓县年产40万立方米商品混凝土拌合项目),每上1t料粉产生粉尘0.23kg,本项目年用水泥量约27170t,共4个水泥储罐,每个储罐总储存水泥约6792.5t/a,粉尘产生量分别约为1.56t/a。
  本项目各储罐有组织粉尘产生速率及产生量情况详见下表。
  表21   有组织粉尘产生情况一览表
  污染物排放源 污染物产生速率
  (kg/h) 污染物产生浓度(mg/m3) 污染物产生量
  (t/a)
  水泥储罐1# 0.542 180.7 1.56
  水泥储罐2# 0.542 180.7 1.56
  水泥储罐3# 0.542 180.7 1.56
  水泥储罐4# 0.542 180.7 1.56
  注:风机风量为3000m3/h
  ③搅拌粉尘
  本项目骨料(碎石)、水泥物料落入搅拌机时冲击过程会有粉尘产生。此部分粉尘以无组织形式排放,参考《散逸性工业粉尘控制技术》混凝土分批搅拌骨料与粉料进入搅拌机中散逸的排放因子,本项目该工序粉尘产生量取为0.01kg/t,本项目搅拌物料总量为329815t/a,则本项目搅拌机进料口粉尘产生量约为3.298t/a,产生速率为1.145kg/h。
  ④储料仓粉尘
  本项目原料水泥为水泥罐密闭存储,碎石堆放至储料仓中,起尘主要是碎石在装卸过程中产生的粉尘,此类粉尘以无组织形式排放,依据同类工程类比数据(呈贡至澄江高速公路建设项目现场临时搅拌站项目),项目无组织粉尘的产生量按原料用量的0.001%计算,本项目碎石年用量为302645t/a,则本项目碎石卸料过程及堆放产生的粉尘产生量约为3.026t/a,产生速率为1.051kg/h。碎石卸载采用机械操作,在卸载前,先提前把固定喷头打开,喷洒到即将卸载区域,使该区域含水量增加,在卸载过程中,喷洒范围要大,并要高过车辆卸载高度,卸载完成后继续对料堆进行洒水,至无明显扬尘产生后方可停止洒水设施,可以有效抑制卸载时产生的粉尘。
  ③噪声
  项目水稳站噪声主要来自于搅拌机、与物料传输装置产生的噪声,噪声功率级在70~90dB(A)。
  表21  项目主要噪声源情况一览表
  序号 噪声源 噪声源强(dB(A)) 数量(台) 声源特征
  1 搅拌机 90 2 连续
  2 物料传输装置 70 2 连续
  ④固体废物
  本项目运营期固体废物主要为工作人员的生活垃圾、餐饮垃圾(含隔油池废油脂)、沉淀池沉渣及布袋除尘器收集的粉尘。
  A.生活垃圾 
  生活垃圾按0.5kg/人·d计算,职工40人,产生量为20kg/d(4.8t/a)。
  B.餐饮垃圾(含隔油池废油脂)
  餐饮垃圾按0.5kg/人·d计算,职工40人,产生量为20kg/d(4.8t/a),隔油池废油脂不属于危险废物。
  C.沉淀池沉渣
  根据建设单位提供数据,本项目清洗废水所用沉淀池产生的沉渣量约为15t/a。
  D.布袋除尘器收集的粉尘
  本项目水泥储罐会产生粉尘,利用布袋除尘器进行收集处理,处理效率可达99%,布袋除尘器收集的粉尘量为6.1776t/a。
  结论与建议
  1、项目概况
  本项目位于通榆县开通镇和平村翻身窝堡屯,建成后年产水泥稳定级配碎石35万吨,用于双辽至洮南高速公路第GQ05工区路线建设,运行期约2年,待双辽至洮南高速公路第GQ05工区路线建成后本项目将进行拆除并进行土地恢复。
  2、产业政策可行性分析
  本项目为水泥稳定级配碎石制造项目,根据国家发改委第9号令《产业结构调整指导目录》(2011年本)(2013年修正),该项目不属于国家鼓励、限制、淘汰类建设项目,可以认为是允许类,符合国家及地方相关产业政策的要求。  
  因此,本项目符合国家及地方产业政策。
  3、环境质量现状
  ⑴地表水
  本次水环境质量现状调查采用2018年通榆县环境质量公报(http://www.tongyu.gov.cn/ztzl/tyhbj/hjzl/201902/t20190227_693255.html)中地表水质量监测结论。2018年,通榆县地表水水质监测结果表明,全年平均值达到了《地表水环境质量标准》(GB3838-2002)中Ⅲ类标准的要求,水质类别为三类,无超标项目。通榆县地表水环境质量监测的水质达标率为100%。
  ⑵环境空气
  根据2018年通榆县环境质量公报可知,本项目所在区域为达标区,根据补充检测结果可知,评价区内TSP浓度占标率均小于100%,分别满足《环境空气质量标准》(GB3095-2012)二级标准限值,说明本项目所在区域本项目污染物环境空气质量良好。
  ⑶声环境
  由监测统计结果可知,各监测点位昼间及夜间噪声监测值均满足《声环境质量标准》(GB3096-2008)中1类区标准,说明区域声环境质量较好。
  5、环境影响分析结论
  ⑴废水
  本项目搅拌添加用水全部进入产品中,料仓洒水降尘用水全部蒸发,清洗废水经沉淀池沉淀后全部回用,食堂餐饮废水经隔油池处理后与生活污水一并排入自建化粪池,定期清掏,用作农肥,废水均不外排,本项目对地表水环境影响较小。
  ⑵废气
  本项目生产过程中无需热源,且冬季不生产,无需自建锅炉。故项目所产生的废气主要为食堂油烟及粉尘(水泥储罐粉尘、搅拌粉尘、储料仓粉尘)。食堂油烟经油烟进化器处理后通过专用烟道从屋顶排出,排放口高于屋顶,排放浓度满足《饮食业油烟排放标准(试行)》(GB18483-2001)中的小型饮食业标准要求;水泥储罐粉尘经布袋除尘器处理后通过15m高排气筒排放;搅拌粉尘及储料仓粉尘经洒水降尘处理后,排放浓度满足《水泥工业大气污染物排放标准》(GB4915-2013)中相关要求,对周围环境影响较小。
  ⑶噪声
  本项目噪声主要来自搅拌机及传输装置运转过程中产生的噪声。建议企业选用低噪声设备,并合理布置噪声源位置,加强对设备的管理和维护,保持其最佳运行状态。采取隔声、减震措施后,厂界处噪声满足《工业企业厂界环境噪声排放标准》(GB12348-2008)中1类区标准限值,对周围声环境影响较小。
  ⑷固体废物
  本项目产生的固体废物主要为生活垃圾、餐饮垃圾(含隔油池废油脂)、沉淀池沉渣及布袋除尘器收集的粉尘。生活垃圾集中收集后交由环卫部门处理;餐饮垃圾交给有资质单位处理;沉淀池沉渣运至垃圾填埋场处理;布袋除尘器收集的粉尘回收利用,不会对周围环境产生二次污染。
  综上,本项目产生的各种污染物均得到了有效的处理处置,避免产生二次污染。
  ⑸服务期满后土地恢复
  项目属于临时性工程,服务于双辽至洮南高速公路第GQ05工区,待双辽至洮南高速公路第GQ05工区施工完毕,本项目也将进行拆除。植被恢复过程中,应加大荒地的植被绿化,播撒草籽栽种树木,植被种类应选用区内常见植被。随着生态恢复的进行,工程对占地范围内的生态影响将逐步消失,受损的生态环境将得以恢复。
  6、结论
  综上所述,本项目符合国家产业政策。通过本项目的环境影响分析,只要在建设过程中充分落实本环评的各项污染防治对策,严格执行各种污染物排放标准,对当地环境造成的影响可接受。
  因此,从环境保护角度看,本项目建设可行。
 
上一篇: 通榆县环境保护局关于《中铁五工... 下一篇: 中铁五工区沥青混凝土拌合站建设项目